2026年4月入学 | 关西大学学部出愿早知道

大辉云私塾
2025-07-04

又到了日本大学的出愿季,同学们是不是被各种募集要项搞得头秃?

别慌!从今天开始大辉酱就带大家划重点

从时间规划到材料准备,手把手教大家了解日本各个大学的募集要项,今天大辉酱就为大家介绍下2026年4月入学的关西大学学部报考信息~


关西大学创立于1886年,本部位于日本大阪府吹田市,关西大学的前身是关西法律学校,校史可溯源至1825年成立的泊园书院。学校的千里山主校区由日本建筑大师村野藤吾设计,有着四季分明的自然环境和最先进的设施设备,还拥有西日本地区最大的图书馆。



在日本信息服务网站Recruit发布的大学品牌排行榜“升学品牌力调查2020”中,关西大学连续13年位列关西地区高中生想报考的首位大学,也是关西地区认可度最高的高等学府之一。

01

募集人员


02

出愿时间


9月出愿

法学部、文学部、经济学部、社会学部、综合情报学部

出愿时间:2025年9月1日-9月8日(必着)

校内考时间:2025年10月19日

合格发表日:2025年11月1日

11月出愿

经济学部、政策创造学部、社会安全学部、系统理工学部、环境都市工学部、化学生命工学部、文学部、商学部、人间健康学部、商业数据科学学部

出愿时间:2025年11月18日-11月25日(必着)

校内考时间:2026年1月11日

合格发表日:2026年1月16日


03

出愿资格


1.有外国国籍者

2.完成12年教育经历者或预计2026年3月31日前完成者

3.2026年3月31日前满18岁者


04

入试要件


9月募集法学部认可2025年6月留考成绩,其他学部认可2024年11月和2025年6月的留考成绩。


具体的留考科目要求如下:

法学部、文学部、社会学部需要提交EJU留考日语(含记述)和综合科目的成绩。

经济学部需要提交EJU留考日语(含记述)、综合科目和数学1的成绩。

综合情报学部需要提交EJU留考日语(含记述)、综合科目或数学或理科任选其一。




11月募集认可2025年6月、11月的留考成绩。


具体的留考科目要求如下:

文学部、人间健康学部需要提交EJU留考日语(含记述)和综合科目的成绩。

经济学部需要提交EJU留考日语(含记述)、综合科目和数学1的成绩。

商学部需要提交EJU留考日语(含记述)的成绩。

政策创造学部需要提交EJU留考日语(含记述)、综合科目或数学1或理科(三选二)的其中一个科目成绩。

社会安全学部需要提交EJU留考日语(含记述)、综合科目或理科(三选二)和数学2的成绩。

商业数据科学学部需要提交EJU留考日语(含记述)、数学2的成绩。

系统理工学部、环境都市工学部需要提交EJU留考日语(含记述)、数学2和理科物理化学成绩。

化学生命工学部需要提交EJU留考日语(含记述)、数学2,其中化学物质工学科还需提交理科物理化学成绩。而生命生物工学科需要提交理科化学和理科物理生物(二选一)的成绩。






05

出愿材料

1.履历书

2.志望理由书

3.高中毕业(预)证明书(原件)

4.高中成绩证明书(原件)

5.护照复印件

6.日本留学生试验受验票的复印件

7.在留卡复印件

8.文学部、经济学部、商学部、社会学部、人间健康学部、商业数据科学学部需提交英语成绩




06

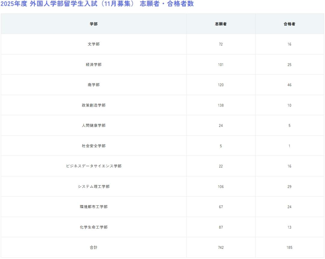
往年报录比


最后我们一起来看下2025年关西大学的报录情况吧!



以上就是关于关西大学2026年4月入学的学部出愿信息,如有想考关西大学的同学,可以联系大辉酱详细咨询哦!


分享